DEHNcon-H

When installing bare, uninsulated air-termination conductors directly on the roof, the separation distance to electrical and metal systems installed under the roof surface must be maintained in accordance with the state of the art and the current lightning protection standard DIN EN 62305-3 (VDE 0185-305-3). Cable installations, pipe systems and metal parts are frequently installed under the roofing in direct proximity to air-termination systems/down conductors, thus posing a proximity issue. The solution for such proximity issues is a separated air-termination system with high-voltage-resistant, insulated down conductors.

– New type of isolated air-termination system for transmitters/receivers (satellite dish, terrestrial antenna) or whole buildings or parts of a building
– Visually adapted design due to inner routing of the HVI light Conductor in the supporting tube, reduced dimensions of the supporting tubes (Al pipe 40x5 mm) and low weight of the whole structure, also suitable for retrofitting on antenna poles
– Internal sealing end with a flexible StSt strip coming out at the bottom of the supporting tube, for connection to the equipotential bonding
– High-voltage-resistant, insulated down conductor for maintaining the separation distance from electrically conductive parts according to IEC 62305-3
– Equivalent separation distance s ≤ 45 cm (in air), or s ≤ 90 cm (solid building material)
– Supporting tube with insulating section of glass-fibre reinforced plastic (GRP) tube Ø30 mm
– Material factor km = 0.7
– Light grey colour, UV stabilised

The HVI light Conductor meets the requirements of DIN IEC/TS 62561-8 (VDE V 0185-561-8).

详情

Detail – supporting tube with installed conductor.
lorem ipsum

HVI light Conductor inside the supporting tube with air-termination tip

With internal sealing end and air-termination tip StSt Ø10 mm.

4 产品

货号 819255 HVI LI 20 L6M SR1990 FSP500 GFK AL V2A

全球贸易项目代码 4013364255371, 海关HS编码: 85389099, 总重: 6.84 kg, 包装单位: 1.00 pc(s)

前代产品

图片

附加信息

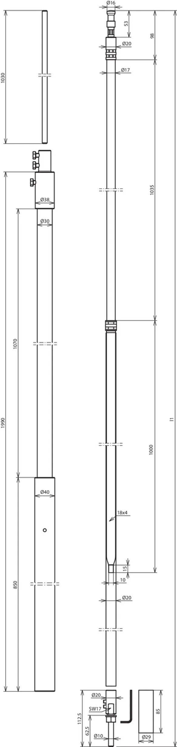
DEHNcon-H HVI light Conductor inside the supporting tube 1990 mm with air-termination tip 500 mm
DEHNcon-H isolated air-termination system e.g. of transmitting/receiving systems
(parabolic, terrestrial antennas).
Visually pleasing design since the HVI light Conductor is installed inside the supporting tube
High-voltage-resistant insulated down conductor for keeping the separation distance from conductive parts according to IEC/EN 62305-3
Equivalent separation distance s =< 45 cm (in air)
or s =< 90 cm (solid material).
The supporting tubes are dimensioned according to Eurocode 1 (DIN EN 1991-1-4 + DIN EN 1991-1-4/NA).
HVI light Conductor installed inside the supporting tube, with special internal sealing end and air-termination tip Ø10 mm, 500 mm long.
Material of supporting tube: GRP / Al
Length of supporting tube: 1990 mm
Diameter Ø conductor: 20 mm
Colour of conductor: grey ●
Material of conductor: Cu
Equivalent separation distance s (air): ≤ 45 cm
Minimum order length: 6 m
Max. gust wind speed: (Max. free length 1,890 mm, 1x HVI light inside) 240 km/h
Max. free length: 1890 mm
Min. clamping length: 600 mm
Standard: DIN IEC/TS 62561-8 (VDE V 0185-561-8)

Brand: DEHN
Type: HVI LI 20 L6M SR1990 FSP500 GFK AL V2A
Part No.: 819255
or equivalent.

认证

 

技术参数

Material of supporting tube GRP / Al
Length of supporting tube 1990 mm
Length of air-termination tip 500 mm
Material of conductor Cu
Equivalent separation distance s (air) ≤ 45 cm
Minimum order length 6 m
Max. gust wind speed (Max. free length 1,890 mm, 1x HVI light inside) 240 km/h
Max. free length 1890 mm
Min. clamping length 600 mm
Standard DIN IEC/TS 62561-8 (VDE V 0185-561-8)

.产品已加入收藏夹。

商品819255加入购物车。

货号 819256 HVI LI 20 L6M SR1990 FSP1000 GFK AL V2A

全球贸易项目代码 4013364255388, 海关HS编码: 85389099, 总重: 7.14 kg, 包装单位: 1.00 pc(s)

前代产品

图片

附加信息

DEHNcon-H HVI light Conductor inside the supporting tube 1990 mm with air-termination tip 1000 mm
DEHNcon-H isolated air-termination system e.g. of transmitting/receiving systems
(parabolic, terrestrial antennas).
Visually pleasing design since the HVI light Conductor is installed inside the supporting tube
High-voltage-resistant insulated down conductor for keeping the separation distance from electrically conductive parts according to IEC/EN 62305-3
Equivalent separation distance s =< 45 cm (in air)
or s =< 90 cm (solid material).
The supporting tubes are dimensioned according to Eurocode 1 (DIN EN 1991-1-4 + DIN EN 1991-1-4/NA).
HVI light Conductor installed inside the supporting tube, with special internal sealing end and air-termination tip Ø10 mm, 1000 mm long.
Material of supporting tube: GRP / Al
Length of supporting tube: 1990 mm
Diameter Ø conductor: 20 mm
Colour of conductor: grey ●
Material of conductor: Cu
Equivalent separation distance s (air): ≤ 45 cm
Minimum order length: 6 m
Max. gust wind speed: (Max. free length 2,390 mm, 1x HVI light inside) 200 km/h
Max. free length: 2390 mm
Min. clamping length: 600 mm
Standard: DIN IEC/TS 62561-8 (VDE V 0185-561-8)

Brand: DEHN
Type: HVI LI 20 L6M SR1990 FSP1000 GFK AL V2A
Part No.: 819256
or equivalent.

认证

 

技术参数

Material of supporting tube GRP / Al
Length of supporting tube 1990 mm
Length of air-termination tip 1000 mm
Material of conductor Cu
Equivalent separation distance s (air) ≤ 45 cm
Minimum order length 6 m
Max. gust wind speed (Max. free length 2,390 mm, 1x HVI light inside) 200 km/h
Max. free length 2390 mm
Min. clamping length 600 mm
Standard DIN IEC/TS 62561-8 (VDE V 0185-561-8)

.产品已加入收藏夹。

商品819256加入购物车。

货号 819257 HVI LI 20 L6M SR2640 FSP500 GFK AL V2A

全球贸易项目代码 4013364255395, 海关HS编码: 85389099, 总重: 7.79 kg, 包装单位: 1.00 pc(s)

前代产品

图片

附加信息

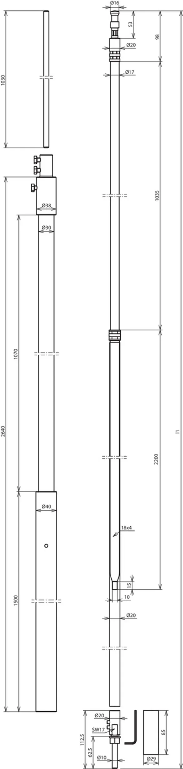
DEHNcon-H HVI light inside the supporting tube, 2640 mm, air-termination tip 500 mm
DEHNcon-H isolated air-termination system e.g. of transmitting/receiving systems
(parabolic, terrestrial antennas)
Visually pleasing design since the HVI light Conductor is installed inside the supporting tube
High-voltage-resistant insulated down conductor for keeping the separation distance from conductive parts according to IEC/EN 62305-3
Equivalent separation distance s =< 45 cm (in air)
or s =< 90 cm (solid material).
The supporting tubes are dimensioned according to Eurocode 1 (DIN EN 1991-1-4 + DIN EN 1991-1-4/NA).
HVI light Conductor installed inside the supporting tube, with special internal sealing end and air-termination tip Ø10 mm, 500 mm long.
Material of supporting tube: GRP / Al
Length of supporting tube: 2640 mm
Diameter Ø conductor: 20 mm
Colour of conductor: grey ●
Material of conductor: Cu
Equivalent separation distance s (air): ≤ 45 cm
Minimum order length: 6 m
Max. gust wind speed: (Max. free length 2,540 mm, 1x HVI light inside) 240 km/h
Max. free length: 2540 mm
Min. clamping length: 600 mm
Standard: DIN IEC/TS 62561-8 (VDE V 0185-561-8)

Brand: DEHN
Type: HVI LI 20 L6M SR2640 FSP500 GFK AL V2A
Part No.: 819257
or equivalent.

认证

 

技术参数

Material of supporting tube GRP / Al
Length of supporting tube 2640 mm
Length of air-termination tip 500 mm
Material of conductor Cu
Equivalent separation distance s (air) ≤ 45 cm
Minimum order length 6 m
Max. gust wind speed (Max. free length 2,540 mm, 1x HVI light inside) 240 km/h
Max. free length 2540 mm
Min. clamping length 600 mm
Standard DIN IEC/TS 62561-8 (VDE V 0185-561-8)

.产品已加入收藏夹。

商品819257加入购物车。

货号 819258 HVI LI 20 L6M SR2640 FSP1000 GFK AL V2A

全球贸易项目代码 4013364255418, 海关HS编码: 85389099, 总重: 8.09 kg, 包装单位: 1.00 pc(s)

前代产品

图片

附加信息

DEHNcon-H HVI light Conductor inside the supporting tube 2640 mm with air-termation tip 1000 mm
DEHNcon-H isolated air-termination system e.g. of transmitting/receiving systems
(parabolic, terrestrial antennas).
Visually pleasing design since the HVI light Conductor is installed inside the supporting tube
High-voltage-resistant insulated down conductor for keeping the separation distance from electrically conductive parts according to IEC/EN 62305-3
Equivalent separation distance s =< 45 cm (in air)
or s =< 90 cm (solid material).
The supporting tubes are dimensioned according to Eurocode 1 (DIN EN 1991-1-4 + DIN EN 1991-1-4/NA).
HVI light Conductor installed inside the supporting tube, with special internal sealing end and air-termination tip Ø10 mm, 1000 mm long.
Material of supporting tube: GRP / Al
Length of supporting tube: 2640 mm
Diameter Ø conductor: 20 mm
Colour of conductor: grey ●
Material of conductor: Cu
Equivalent separation distance s (air): ≤ 45 cm
Minimum order length: 6 m
Max. gust wind speed: (Max. free length 3,040 mm, 1x HVI light inside) 201 km/h
Max. free length: 3040 mm
Min. clamping length: 600 mm
Standard: DIN IEC/TS 62561-8 (VDE V 0185-561-8)

Brand: DEHN
Type: HVI LI 20 L6M SR2640 FSP1000 GFK AL V2A
Part No.: 819258
or equivalent.

认证

 

技术参数

Material of supporting tube GRP / Al
Length of supporting tube 2640 mm
Length of air-termination tip 1000 mm
Material of conductor Cu
Equivalent separation distance s (air) ≤ 45 cm
Minimum order length 6 m
Max. gust wind speed (Max. free length 3,040 mm, 1x HVI light inside) 201 km/h
Max. free length 3040 mm
Min. clamping length 600 mm
Standard DIN IEC/TS 62561-8 (VDE V 0185-561-8)

.产品已加入收藏夹。

商品819258加入购物车。


返回顶部